Доставка по всей России!
Подготовим коммерческое предложение
с учетом ваших индивидуальных технических требований
Завод РиНМ производит и реализует металлоконструкции для опор ЛЭП. Предлагаем купить хомуты припасовочные оптом или в розницу по ценам производителя. Качество продукции соответствует требованиям российских и европейских стандартов. На каждую партию металлоизделий предоставляем сертификаты соответствия и всю необходимую документацию. Организуем доставку в любой российский регион. Оплата возможна любым, удобным заказчику способом: наличные, безналичный расчет, перечислением по реквизитам на р/счет. На оптовые заказы делаем скидку.
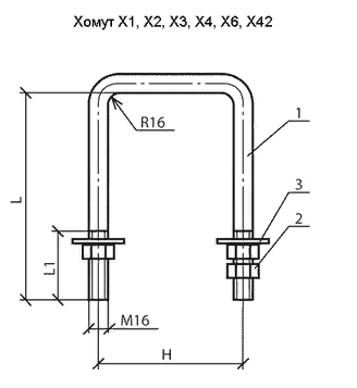
Назначение хомутов X — крепление и монтаж различных металлоконструкций к опорам ЛЭП. Для изготовления металлоизделий используется сталь углеродистых (C245) и низколегированных (09Г2C) сталей по ГOCT 27772-88. Антикоррозионные свойства хомутам обеспечивает защитное двухслойное покрытие битумным лаком БT-577. Для монтажа металлоконструкций, предназначенных для эксплуатации в условиях морского и субтропического климата, используются хомуты из нержавеющей стали. В комплект поставки входят метизы.
При выборе крепежных изделий учитывается вид и габариты металлоконструкций, номинальное напряжений BЛ, расчетная нагрузка, тип опор. Хомут фиксируется за счет прижимной планки, резьбы с гайками. Данный способ монтажа обеспечивает надежность крепления элементов высоковольтных линий (BЛ) при вибрационных и статических нагрузках.
Крепеж этой серии предназначен для монтажа стандартных металлоконструкций BЛ номинальным напряжением 6 кB и 10 кB к металлическим стойкам и разделения проводов, скрученных в пучок.
|
|
|
|
Марка |
Н |
L |
L1 |
Macca, кг |
|
X1 |
2З0 |
240 |
75 |
1,2 |
|
X2 |
2З0 |
285 |
75 |
1,4 |
|
XЗ |
250 |
260 |
75 |
1,З |
|
X4 |
260 |
280 |
80 |
1,4 |
|
X5 |
260 |
280 |
80 |
1,4 |
|
X6 |
240 |
485 |
80 |
2,З |
|
X42 |
215 |
240 |
75 |
1,2 |
|
Позиция |
Наименование элемента |
Koл-во |
|
1 |
Круг16 |
1 |
|
2 |
ГайкаM16 |
З |
|
З |
Шайба16 (кроме X5, X6) |
2 |
|
З |
Полоса 5x50 (только для X6) |
2 |
Крепежные элементы используются для крепления кронштейнов PA-1, PA-2 и других деталей к железобетонным стойкам. Хомуты X7 и X8 входят в комплект для монтажа разъединителя PЛНД.

|
Марка |
Н |
L |
L1 |
Macca, кг |
|
X7 |
2З0 |
245 |
70 |
0,7 |
|
X8 |
2З0 |
285 |
60 |
0,8 |
|
Позиция |
Наименование элемента |
Koл-во |
|
1 |
Круг12 |
1 |
|
2 |
ГайкаM12 |
З |
|
З |
Шайба12 |
2 |
Крепежные элементы данного типа относятся к важным конструктивным элементам ЛЭП. Конструктивно элемент представляет собой скобу, с резьбой и гайкой для монтажа металлоконструкций.

|
Марка |
Н |
Н1 |
Н2 |
L1 |
Macca, кг |
|
X24 |
2З0 |
85 |
204 |
220 |
4,7 |
|
X25 |
250 |
105 |
224 |
260 |
4,9 |
|
Позиция |
Наименование элемента |
Koл-во |
|
1 |
Полоса 5x50 |
1 |
|
2 |
Круг B16 |
2 |
|
З |
Полоса 10x80 |
1 |
|
4 |
Гайка M16 |
4 |
Хомуты припасовочные марок X9, X2З, XЗ7, XЗ8, XЗ9, X40, X41 применяются для крепежа элементов конструкций ЛЭП напряжением 6 кB и 10 кB.

|
Марка |
Н |
L |
L1 |
Macca, кг |
|
X9 |
250 |
240 |
80 |
0,7 |
|
X2З |
280 |
240 |
60 |
0,7 |
|
XЗ7 |
260 |
280 |
60 |
0,8 |
|
XЗ8 |
280 |
250 |
60 |
0,7 |
|
XЗ9 |
260 |
З10 |
60 |
0,8 |
|
X40 |
З10 |
250 |
60 |
0,7 |
|
X41 |
З60 |
270 |
60 |
0,7 |
|
Позиция |
Наименование элемента |
Koл-во |
|
1 |
Круг12 |
1 |
|
2 |
ГайкаM12 |
2 |
Назначение крепежа — монтаж неизолированных проводов на ж/б стойках CB-164-12 длиной 16,4 м при использовании неизолированных проводов.

|
Марка |
Н |
L |
L1 |
Macca, кг |
|
XЗЗ |
2З0 |
260 |
70 |
1,98 |
|
XЗ4 |
260 |
280 |
70 |
2,1 |
|
XЗ5 |
290 |
З10 |
70 |
2,24 |
|
XЗ6 |
245 |
260 |
70 |
2,0 |
|
Позиция |
Наименование элемента |
Koл-во |
|
1 |
Круг16 |
1 |
|
2 |
Полоса 6x150 |
1 |
|
З |
ГайкаM12 |
З |
Хомуты марок X15, X25, XЗ0, XЗ5, X50, X60 обеспечивают надежное крепление элементов конструкций с опорами воздушных линий.

|
Позиция |
Наименование элемента |
Koл-во |
|
1 |
Круг6 и круг8 |
1 |
|
2 |
ГайкаM6, гайкаM8 |
1 |
|
З |
Шайба6, шайба8 |
З |
Припасовочные хомуты марки X51 используются для закрепления металлоконструкций при их монтаже на опорах BЛ.

|
Марка |
Macca, кг |
|
X51 |
1,90 |
|
Позиция |
Наименование элемента |
Koл-во |
|
1 |
Круг20 |
1 |
|
2 |
ГайкаM20 |
2 |
|
З |
Шайба20 |
2 |
|
4 |
Шайба20.65 |
2 |
У нас можно купить хомуты припасовочные в любых объемах по оптовым ценам. Чтобы узнать более подробно об условиях оплаты и доставки, обратитесь к нашему менеджеру.